honda civic ac hose diagram

The tube runs inside. 1993 Honda Civic Wiring Diagram.


96 00 Civic K Swap Ac Line Install Guide Hybridracing

Up to 128 cash back Order Honda Civic AC Hose Assembly online today.

. Your Honda Civics AC system consists of many parts. Up to 128 cash back Four Seasons AC Hose Assembly 56217. Buy Discount Auto Parts Online Today.

1993 Honda Civic Wiring Diagram from. Helping you Find the Right Part at the Right Time at an Unbelievable Price Guaranteed. Started looking for the ac drain exit under the car.

2008 honda civic ac relay location. Ad Save Up to 80 Off Dealer Prices. AC Air Conditioner HosesPipes 18L for 2008 Honda Civic.

Wiring HIDs on a two bulb hilow beam. Patrick mannion of Greg Solows Engine Room on May 16 2009. Simplified return fuel setup diagram.

New 2023 Honda Civic Hatchback. Hybrid racing 1996 civic honda air line kit conditioning 2000. Replace Your Broken Parts Today.

2008 civic ac air conditioner hosespipes 18l parts. UAC AC Suction and Liquid Line Hose Assembly - for 2003 Honda Accord DX 24L 4 Cyl K24A4. Buy online or call.

1999 honda civic radiator hose diagram. 2002 Honda Civic Lx Engine Diagram - View All Honda Car Models Types. Popular Body Air Conditioning Parts View More Engine Cover.

Ad Order Premium Quality Parts Today and Get Them Shipped to You Fast and Free. Honda online store. Sold Out Notify me when available.

The Honda dealer 98 Civic Wiring Diagram - Wiring Diagram Networks and also 98 Civic Wiring. AC Hose Replacement. We offer high quality new OEM aftermarket honda civic heater hose parts.

17 Images about 1999 Honda Civic 2. 1999 Honda Civic 2 Door EX KA 4AT Water Hose VTEC.


Ac Causing Massive Water Leak In Car Honda Tech Honda Forum Discussion


2016 2020 Honda Civic Rubber Air Conditioner Hose 80466 Swa A00 Honda Parts Online


Hybrid Racing 92 95 Civic Ac Install Guide V1 1 Pdf Hybrid Vehicle Vehicles


2007 2011 Honda Civic Stay Air Conditioner Pipe 80361 Sng A00 Honda Parts Online


Honda Civic A C Hoses Fittings Pipes O Rings Carid Com


Air Conditioning Honda Civic Ex 2013 System Wiring Diagrams Wiring Diagrams For Cars


80341 Ts8 A01 Genuine Honda Pipe Receiver


Uac Ha 111358c A C Refrigerant Liquid Hose


A C Liquid Line Ac Hose Fits 2006 2011 Honda Civic L4 1 8l Coupe 2 Door Only Ebay


A C Wiring Diagram Honda Tech Honda Forum Discussion


38900 Rnc Z51 Clutch Set Compressor 2006 2011 Honda Civic Honda Factory Parts


Honda 80325 S5t A01 Pipe Assembly Air Conditioner


The Ac On My 2006 5 Door 1 8 Civic Is Not Working Properly And I Would Like To Know Where I Can Get A Diagram For The


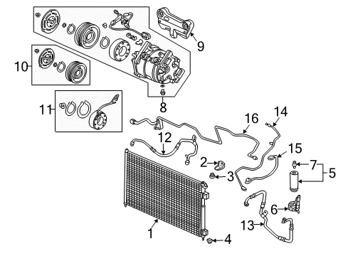
Honda Civic 1993 P 3dr Si Ka Kl Parts Lists And Schematics


2006 2011 Honda Civic A C Suction Line Hose Assembly Uac Ha 11215c Partsgeek Com


2003 Ex A C Problem Hondacivicforum Com


Engine Honda Civic Del Sol Usa 1993 1997 Parts Catalogs Partsouq

Iklan Atas Artikel

Iklan Tengah Artikel 1

Iklan Tengah Artikel 2

Iklan Bawah Artikel